BTC/HKD-0.08%
ETH/HKD+1.96%
LTC/HKD-0.96%
ADA/HKD-1.67%
SOL/HKD+1.56%
XRP/HKD-7.69%我們需要將NFT轉移到第2層生態系統以降低費用。然而,這樣正確做到這一點需要良好的跨Rollup可移植性標準,從而生態系統可以避免被鎖定在一個特定的L2中。——VitalikButerin
NFT生態系統正在迅速發展,已經成為以太坊鏈gas消耗的重要組成部分。NFT生態系統的年輕化和相對缺乏根基,以及由于NFT的很大一部分的非金融性質而更需要避免高額費用,這也使得NFT成為轉移到第2層網絡的主要目標。然而,這就提出了如何將NFT遷移到Layer2的問題。
一個簡單的提案是:在社區內協調將NFT遷移到單個Rollup平臺,但這存在一些重要的缺點:
所有現有的支持EVM的主要Rollup平臺都有后門、集中排序或其他實驗性功能,將整個生態系統交給單個Rollup是有風險的,而Rollup將如何超越這些功能存在不確定性。
Skale Network發布Levitation Protocol:金色財經報道,Skale Network 發布了 Levitation Protocol,一個零知識 (ZK) Rollup,旨在為以太坊開發人員提供新的擴展解決方案。[2023/6/2 11:53:37]
NFT生態系統可能會變得太大,以至于單個Rollup無法安全處理
NFT生態系統的任何部分,甚至整個NFT生態系統,都不是封閉的世界;他們將需要與以太坊生態系統的其他部分進行互操作
這篇文章提出了一種關于如何使NFT跨Rollup友好的提案,允許NFT移動到整個Layer2生態系統。
提議的解決方案1
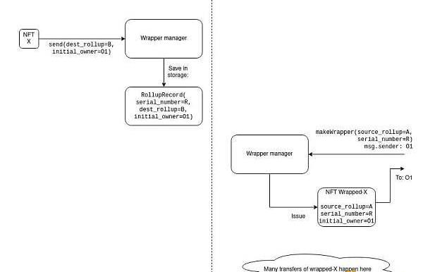
NFT將首先在一個Rollup中注冊。通過創建一個封裝NFT,NFT可以在其他Rollup之間跳轉。
Vitalik Buterin 回應推特改名,“真實姓名”并不代表護照姓名:6月10日消息,以太坊創始人 Vitalik Buterin 發推解釋推特名更改為“豚林 vitalik.eth”的原因。Vitalik 稱,請不要使用“真實姓名”來指代護照姓名,你的政府無權定義你“真正”是誰。如果你在大多數日常互動中使用不同的名字,那就是你的真實姓名。[2022/6/11 4:17:39]
封裝NFT的過程如下:
在RollupA上,將NFT發送到封裝管理器合約,指定(i)目的地Rollup和(ii)初始所有者。密碼箱合約在存儲中保存一條記錄,為X分配一個新的序列號R,并保存目標Rollup和目標Rollup的初始所有者
在RollupB上,任何人都可以使用RollupB上的封裝管理器合約創建封裝NFT。創建一個封裝NFT需要指定源Rollup和序列號。創建X的一個「有效」封裝NFT只能由指定的所有者并通過聲明(R,A)作為序列號和源Rollup來完成。請注意,可能會創建一個無指向內容的無效封裝NFT;RollupB不知道什么是有效和無效。封裝管理器合約存儲元組并防止使用同一個元組創建多個NFT。
TokenBetter平臺GTX(Gravitation-X)日內漲幅為289%:據TokenBetter行情顯示,截至今日18:50(UTC+8),TokenBetter平臺內創新區幣種GTX(Gravitation-X)日內漲幅為289%,24H最高報價0.1499USDT,現報價0.08517USDT。
Gravitation-X(GTX)隨著區塊鏈技術的發展和區塊鏈產業數量的增長,區塊鏈項目的財務應用出現了競爭。因此,我們必須通過創建可用的游戲模型來解決競爭問題,這是毀滅證明,縮寫為 POD。
Gravitation-X 的 POD 不僅基于智能合約,還基于 DAPP 系統設置。 從開始每天都會銷毀大量的代幣。隨著更多令牌被釋放,更多將被銷毀,目標是通過結合 CryptoNote 協議和智能合約等一些經過驗證的最佳技術,創建一種先進區塊鏈技術,增強可靠性,隱私性,安全性,可用性和可移植性,從而實現創建私人智能合約。[2020/8/2]
要從密碼箱中提取NFT,RollupB上的封裝-X的當前所有者必須將其發送回封裝管理器,后者會發出收據,說明「序列號為R、源匯總A和初始所有者O1的NFT剛剛接觸封裝,帶有想要的新所有者O2」。
Vitalik Buterin表示 ETH最終將進入Web3階段:以太坊創始人Vitalik Buterin近日表示,ETH最終將進入Web3階段,該階段是指實現ETH與其它各類技術的結合,以此來打造一個更加去中心化的互聯網。進而使得網絡的控制權交到用戶的手上。[2018/1/6]
密碼箱合約可以在收到匯總B上的收據的證明時將X交給O2,并根據自己存儲的信息檢查序列號、源Rollup和初始所有者,并驗證它是否通過。


請注意,提款會有一個時間延遲,因為OptimisticRollup狀態根需要大約1周的時間延遲才能最終確定,以便驗證收據。到目前為止,更快地進行多跳的唯一方法是進行多層封裝。
為了讓用戶驗證封裝-X是否合法,他們需要自己驗證RollupB上的狀態和RollupA上的收據。
擴展:添加跨Rollup傳輸
在匯總B上,wrapped-X的所有者可以將其發送給包裝管理器,并附上發出不同收據的指令:「序列號為R、源RollupA和初始所有者O1的NFT剛剛移至RollupC,與想要的新所有者O2」。
在RollupC上,任何人都可以通過指定原始源Rollup、序列號和初始所有者來制作封裝-X對象,并且RollupC上的此封裝-X可以自由交易。但是,為了能夠撤回封裝-X,需要將RollupB的收據發送到RollupA。
實際發生的事情是,當NFT從一個Rollup移動到另一個Rollup時,轉移鏈留下了一個收據鏈,該收據鏈中的每一個收據都被鏡像到RollupA并在某個時間點按順序處理。未來,當其他Rollup的狀態最終確定時。
為了讓用戶驗證封裝的X是合法的,他們需要驗證反映跨Rollup轉移的所有Rollup上的整個收據鏈。
此外請注意,該協議可以簡化:「提款」只是一個跨Rollup轉移RollupA,如果認識到RollupA發布的特定序列號現在在RollupA上,那么該封裝的合約可以直接兌換。
擴展2:基礎鏈上的gas優化發行
所有NFT都可以以這樣的方式發行,即它們由以太坊基礎鏈上的密碼箱合約「擁有」。為了使這種gas高效,密碼箱合約將獲得生成一整套序列號并將它們傳輸到Rollup的功能。實際上,所有NFT都是預先創建的,但尚未分配給其中任何一個「意義」,并且它們被批量轉移到Rollup。
「發行」的過程現在變成了賦予意義的過程。這可以通過在收據中傳遞「含義哈希」來完成,就像傳遞所有者的方式一樣:如果NFT沒有意義,所有者可以為其分配一個含義,轉動它變成了一個「差異化」的NFT。基礎鏈只有在驗證收據鏈后才知道NFT的含義,直到分配含義為止。
這允許所有NFT都在基礎鏈中「扎根」,而不是Rollup。這對于處理Rollup中斷或以其他方式變得不可行以及應用需要永久遷移到其他域的情況很有用。
Aave是一個去中心化的借貸系統,允許用戶在不需要中間人的情況下借入、借出和賺取加密資產的利息.
1900/1/1 0:00:00本周技術周刊包含以太坊、Chainlink、Arbitrum、Optimism、Kusama五個網絡的技術類新聞.
1900/1/1 0:00:00北京時間9月7日23時,以比特幣為首的加密貨幣短線跳水。據FTX數據,BTC短線跌破43000美元.
1900/1/1 0:00:00金色財經報道,9月3日,加密貨幣去中心化借貸總借款量已突破300億美元。 通過查詢Debank的DeFi排行榜可知。截止到9月3日上午10時.
1900/1/1 0:00:00NFT的浪潮一波接著一波,CryptoPunks的余溫尚在,Loot就攜帶NFT樂高的概念席卷社區。熱點更迭背后,NFT整個生態在繁榮發展,新玩法和新項目層出不窮.
1900/1/1 0:00:002021年是NFT市場爆發增長的一年,不管是第一季度銷售額突破20億美元,還是近期NBA球星庫里花費18萬美元買下了NFT頭像,都證明了NFT目前的火熱程度.
1900/1/1 0:00:00