BTC/HKD-2.28%
ETH/HKD-4.31%
LTC/HKD-5.58%
ADA/HKD-5.02%
SOL/HKD-6.02%
XRP/HKD-3.55%TL;DR:
來源上,ETHStakingExtractableValue可以分為ConsensusIncome、ExecutionIncome和MEV三類;流向上,ETHStakingExtractableValue可以分為ValidatorCapturedValue和ValidatorUncapturedValue兩類。ValidatorInfraProvider、PooledStakingProtocol、CEX和Staker能夠從ValidatorStakingIncome中分一杯羹;Searcher、BlockBuilder能夠從ValidatorUncapturedValue中分一杯羹。ValidatorInfraProvider、StakePool、ProductsbasedonDVT和ExternalMEVMarket中有值得關注的投資機會。自TheMerge發生以來,PoS共識機制下的Ethereum已經穩健運行了近三個月,ETH2.0成功邁出了關鍵的第一步。那么共識機制的轉變帶了哪些機會?
如果你想先了解ETHStakingEcosystem的全貌,推薦閱讀StakingRewards(A&TCapitalPortfolio)的詳細報告《MappingtheEthereumStakingEcosystem》

讓我們把目光聚焦在ETHStakingExtractableValue的直接利益相關者,將上圖簡化,得到ETHStakingExtractableValueChain。

數據:某巨鯨9小時前從幣安提取1600萬枚USDT:6月29日消息,據Lookonchain監測,0xb154開頭巨鯨地址9小時前再次從幣安提取了1600萬枚USDT。Lookonchain分析道,該地址曾于昨日向幣安存入25000枚ETH(4724萬美元)。11小時前ETH價格下跌很可能是由于這個地址拋售所致。該地址可能還有約8000枚ETH(約1470萬美元)未售出。[2023/6/29 22:07:48]
StakingExtractableValue是如何構成的?
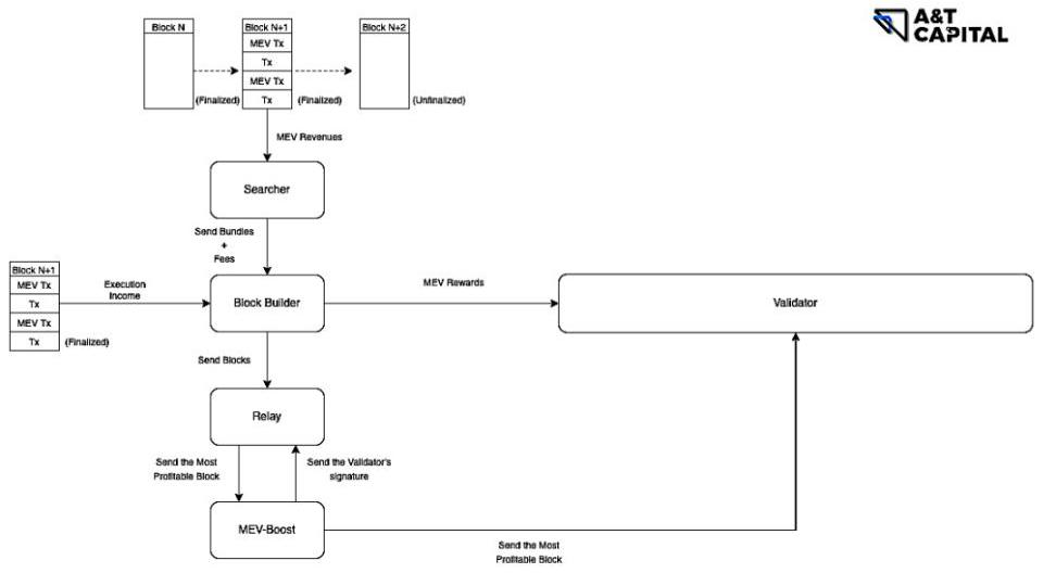
兩個角度:StakingExtractableValue=ConsensusIncome+ExecutionIncome+MEVStakingExtractableValue=ValidatorCapturedValue+ValidatorUncapturedValue從來源上,分為三類:ConsensusIncome:來自網絡新增發的ETHToken,是共識機制對誠實Validator的獎勵ExecutionIncome:來自GasFee中的Tip部分,是用戶支付給幫助打包其交易上鏈的Proposer/Builder的小費MEV:來自執行某些特定交易產生的經濟利益,形式最為多樣,大多屬于套利利潤從流向上,分為兩類:ValidatorCapturedValue:被分配給Validator,作為維護ETH網絡安全、參與區塊建立與共識所獲得的經濟激勵ValidatorUncapturedValue:被ExternalMEVMarket其他參與者瓜分,表現為MEV加上ExternalBlock’sExecutionIncome再減去分給Validator的MEVRewardsValidatorCapturedValue是如何構成的?
ValidatorStakingIncome=ConsensusIncome+LocalBlock’sExecutionIncome+MEVRewardsValidatorStakingIncome共有三種不同來源,分別是ConsensusIncome、LocalBlock’sExecutionIncome和MEVRewards。對于一個Validator來說,ConsensusIncome是最基本、穩定的收入;LocalBlock’sExecutionIncome和MEVRewards則相對偶然,只有當Validator被選為某個新區塊的Proposer時才能獲得。Proposer具體獲得何種收入,則取決于不同情況。在LocalBlockBuilding的情況下,Proposer獲得ExecutionIncome;在ExternalBlockBuilding的情況下,BlockBuilder獲得ExecutionIncome,Proposer獲得BlockBuilder支付的MEVRewards。
26小時前226091枚FXS解鎖,其中Dragonfly Capital獲得46296枚:金色財經報道,據Spot On Chain監測,26小時前,226091枚FXS以8.17美元的價格從Treasury和Advisor開發者錢包中解鎖。
作為其私募投資方之一的Dragonfly Capital從解鎖中獲得了46296枚FXS(價值37.8萬美元)。[2023/4/23 14:21:46]

ConsensusIncome:來自網絡新增發的ETHToken,是共識機制對誠實Validator的獎勵,可以細分為三類:Proposerrewards:當一個Validator被選中成為Proposer時,如果它提議的新區塊被網絡共識,它將因為網絡貢獻正確的新區塊而獲得ProposerrewardsAttestorrewards:未被選為Proposer的Validator可以驗證Proposer提議的新區塊是否有誤,參與驗證的Validator可以獲得AttestorrewardsWhistleblowerrewards:如果Proposer提議的區塊中包含能夠證明其他Validator違反共識規則的證據,它將獲得WhistleblowerrewardsLocalBlock’sExecutionIncome:來自GasFee中的Tip部分,是用戶支付給幫助打包其交易上鏈的Proposer/Builder的小費。在LocalBlockBuilding的情況下,Proposer(Validator)自行建設區塊,并能夠獲得該區塊中全部的Tip,這部分收入被稱為LocalBlock’sExecutionIncome。MEVRewards:來自BlockBuilder支付給Proposer的費用,本質上是MEV的一部分。在ExternalBlockBuilding的情況下,Proposer(Validator)提議BlockBuilder建設的區塊,BlockBuilder支付給Proposer的費用被稱為MEVRewards。這筆費用可能高于區塊中全部的Tip,也可能等于或低于區塊中全部的Tip。注:EIP-1559后,ETH上每筆交易的GasFee被分為BaseFee和Tip。其中BaseFee會被燃燒,而Tip支付給該區塊內的coinbaseaddress。值得一提的是,目前ConsensusIncome仍無法提取,它被鎖定在Validator在BeaconChain的Balance中;而ExecutionIncome和MEVRewards可以被提取,因為它被轉入了某個指定的賬戶中。ValidatorUncapturedValue是如何構成的?
Shiba主題項目Floki將推出元宇宙游戲Valhalla中文版并空投:2月8日消息,ShibaInu犬種主題項目Floki將在未來幾個月內發布一款使用FLOKI代幣的測試網元宇宙游戲Valhalla中文版,并為中文社交媒體平臺Btok用戶開展為期三個月的空投活動。Floki開發商表示,該游戲的內容和技術文件將提供繁體中文和簡體中文版本,專門針對中文游戲市場。
Valhalla第一個版本已于2022年第四季度上線,目前可在OptimismGoerli測試網上體驗。(CoinDesk)[2023/2/8 11:54:08]
ValidatorUncapturedValue=MEV+ExternalBlock’sExecutionIncome-MEVRewardsMEV:來自執行某些特定交易產生的經濟利益,形式最為多樣,大多屬于套利利ExternalBlock’sExecutionIncome:來自中GasFee里的Tip部分,是用戶支付給幫助打包其交易上鏈的Builder的小費。在ExternalBlockBuilding的情況下,Builder將其建設的區塊內的coinbaseaddress設置為Builder的地址,所以Builder能夠獲得該區塊中全部的Tip,MEVRewards:來自BlockBuilder支付給Proposer的費用,是MEV中被Proposer捕獲的部分。誰能從StakingExtractableValue中分一杯羹?
關于ValidatorCapturedValue:按Staker選擇以何種方式質押討論。按Ethereum官方說法,可以分為以下四類:SoloStaking:Staker-100%StakingasaService:Staker-90~95%,ValidatorInfraProvider-5~10%PooledStaking:Staker-90%,PooledStakingProtocol-5%,ValidatorInfraProvider-5%CentralizedExchanges:Staker-85~95%,CEX-0~10%,ValidatorInfraProvider-5%
SBF曾考慮在9月份關閉Alameda:金色財經報道,根據商品期貨交易委員會(CFTC)提交的指控文件,SBF曾考慮在9月份關閉Alameda Research。據報道,SBF起草并分享了一份題為“‘我們來了,我們看到了,我們研究過’”的文件,其中質疑Alameda是否應該永久關閉,原因包括Alameda不能證明當前的資本成本是合理的,而且Alameda沒有賺到足夠的錢來證明其存在的合理性。SBF寫道:“我今天才開始考慮這個問題,所以還沒有進行太多審查。但是:我認為Alameda Research可能是時候關閉了。老實說,一年前就該這么做了。”
此前消息,美SEC和CFTC均已對SBF提出欺詐指控。[2022/12/14 21:42:45]

關于ValidatorUncapturedValue:目前,ValidatorUncapturedValue被Searcher和BlockBuilder瓜分,Relay尚未從中提取價值。理論上,Relay是一個被信任的中繼結構,作為撮合BlockBuilder和Proposer的市場,存在商業化的可能。ExternalMEVMarketArchitectures:

Searcher:行為:將自己的MEVTXs插入一組TXs,形成Bundles發送給Builder收入:MEVTXs被執行帶來的收益成本:MEVTXs的Gasfee和付給Builder的費用BlockBuilder:行為:根據得到的Bundles和MemPool中的TXs組成FullBlock,并將其發送給Proposer。其中,FullBlock中的coinbaseaddress設置為Builder的地址,而FullBlock中的最后一筆TX是Builder轉賬到Proposer的地址收入:FullBlock中的Tip和Searcher支付的費用成本:付給Proposer的費用Relay:行為:接受眾多Builders發送的FullBlocks,并將對Proposer最有利的FullBlock發送給Proposer收入:尚未收取任何費用成本:服務器運維成本哪些方向有值得關注的投資機會?ValidatorInfraProviderStakePoolProductsbasedonDVTExternalMEVMarketValidatorCapturedValue是「浮在水面上的價值」,這個市場相對成熟,各利益相關者提取價值的比例也相對固定。最顯而易見的兩個投資方向是ValidatorInfraProvider和StakePool。A&TCapital均有布局。投資邏輯可以參考我們之前的文章:《A&TFamily:獨角獸企業InfStones完成新一輪6600萬美元融資》《A&TFamily:流動性質押方案MetaPool完成種子輪融資》不過,這絕非一個一成不變的市場,DVT的成熟和應用會成為新的「鯰魚」。DVT通過運行在不同硬件上的NodeOperator共同承擔一個Validator的職責,使得Validator更去中心化的同時避免硬件設備的單點故障。基于DVT,可以實現不同形式的產品,并通過不同的路徑實現商業化。SSVNetwork和ObolNetwork正是一組很好的例子。SSVNetwork旨在建立一個撮合Staker與NodeOperator的公開市場,Staker可以遴選不同的NodeOperator同時為他們運維一個Validator,以防止單點故障;而NodeOperator也有了一定冗余,能夠更靈活地應對各類突發情況。ObolNetwork目前則更像一套SaaS解決方案,且兼顧ToC和ToB。ValidatorUncapturedValue是“藏在水面下的價值”,由于涉及到ExternalMEVMarket并沒有那么透明。
VOTTUN擬在年底前通過Token發行募集2000萬歐元:10月8日消息,被稱為Web3領域中WordPress的VOTTUN計劃在2022年底前通過Token發行募集2000萬歐元資金。該公司推出了基于區塊鏈技術的模板,幫助雀巢、Estrella Damm和世界銀行等公司跟蹤數據、驗證身份、管理加密支付和啟動NFT,其即用型區塊鏈產品也支持追蹤和驗證數據。
(freshgooglenews)[2022/10/9 12:50:01]

MEV比想象中更重要。MEV源于執行某些特殊交易產生的利潤,形式復雜多樣。理論上,鏈上交易越活躍,MEV的上限越高。有時,MEV會比ConsensusIncome+ExecutionIncome更高。MEV的總量是難以計量的。但幾乎可以肯定的是,MEV的總量要大于分配給Validator的MEVRewards。

Merge以來,ExternalMEVMarket已經向Validator分配了近六萬枚ETH的獎勵,而MEV的總量只會比這個數字更高。值得肯定的是,Flashbots提出的MEV-Boost體系對保持EthereumValidator的去中心化起到了促進作用。每一個Validator都能夠通過MEV-Boost客戶端接收各個Relay發送的Block,并遴選出最優的,而不需要再依附某個大型的質押池才能獲得更高收入。然而,目前的市場仍有一系列亟需解決的問題:市場中有許多需要被信任的結構,存在審查風險BlockBuilder和Relay有集中化的趨勢在ExternalMEVMarket中,Searcher需要信任Builder,Builder需要信任Relay。而實際上Builder擁有審查Searcher’sBundles的能力,Relay擁有審查Builder’sBlock的能力。例如,FlashbotsRelay就不再提交包含TornadaoCash交易的區塊。

需要信任某一主體已經足夠糟糕了,更糟糕的是被信任的主體越來越集中化。

(source:https://www.relayscan.io/overview?t=7d)Relayscan.io的數據顯示,過去一周內,前五大的Relay占據了超95%的份額,而前五大的Builder占據了超85%份額。

。這一現象的可能原因是Builder本身也是Searcher,能夠從特殊交易執行中獲利。ExternalMEVMarket中有投資機會
一個需要被信任、且集中化的市場不是我們希望看到的。能夠優化ExternalMEVMarket的商業化解決方案會是值得關注的投資機會。
Tags:VALTORATORATOavalanche幣Jeet Detector BotGatorSwapLAToken
對于BAYC及其衍生系列NFT和APE代幣的持有者來說,APE質押是近期最值得關注的大事,對于NFT行業后續發展也有借鑒性意義.
1900/1/1 0:00:00提起智能合約,很多人的第一反應就是以太坊,甚至在維基百科中搜索智能合約的時候,都會給出如下的定義:智能合約:是一種特殊協議,在區塊鏈內制定合約時使用,當中內含了代碼函數(Function).
1900/1/1 0:00:00隨著FTX事件的波瀾逐漸褪去,加密行業的注意力重新回到了發展與建設中來。過去一個月市場的接連暴雷,動搖了許多從業者的目標和信心,過去在大家心中的「絕對權威」都倒下了,還有誰愿意支持Web3的發展.
1900/1/1 0:00:00FTX暴雷對市場的影響已從各大交易所蔓延至NFT市場,根據OpenSea數據,藍籌NFT系列BoredApeYachtClub地板價已跌破50ETH,截止發文為49.95ETH.
1900/1/1 0:00:00近日,Alex在Twitter平臺發布一篇關于LP在UniswapV3ETH/USDC中損失約1億美元的發現,對UniswapV3的數據服務和策略研究提出質疑.
1900/1/1 0:00:00Web3代表了我們今天所知道的互聯網的基本演變,用去中心化的協議和社區保留的所有權取代了中心化的看門人和中介。Web3的固有特性對那些生活在加密環境中的原住民具有很大的吸引力.
1900/1/1 0:00:00